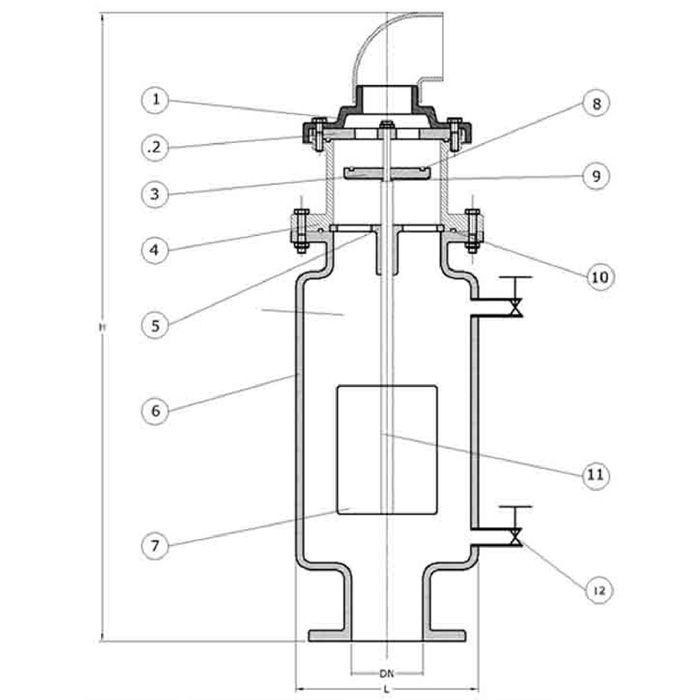
| No | Description | Material | Standards |
| 1 | COVER | G.C.I GG 25/D.C.I GGG 50 | EN 1300 / ISO 1083 |
| 2 | SEALING PLATE | ST.ST. | ASTM GRADE 304 |
| 3 | SEALING DOOR | ST.ST. | BS 2494 - ASTM 304 |
| 4 | HOUSING | G.C.I GG 25/D.C.I GGG 50 | EN 1300 / ISO 1083 |
| 5 | STEM GIUDE | BRASS | BS 1400 |
| 6 | BODY | G.C.I GG 25/D.C.I GGG 50 | EN 1300 / ISO 1083 |
| 7 | FLOAT | Stainless Steel | ASTM GRADE 304 |
| 8 | SEAL | NBR | BS 2494 |
| 9 | SEAL | NBR | BS 2494 |
| 10 | SEAL | NBR | BS 2494 |
| 11 | STEM | STAINLESS STEEL | ASTM GRADE 304 |
| 12 | CLEANING VALVES | BRASS | BS 1400 |
Air valve sewage type
A Critical Component for Water & Wastewater Pipelines Protection
Air Valves are essential components in water and wastewater pipelines and treatment plants, always installed at the highest points of the pipeline to ensure safe, efficient, and reliable system operation.
Function of the Air Valve
Air valves perform several vital functions, including:
- Automatic release of accumulated air during normal pipeline operation, ensuring smooth flow and maintaining hydraulic efficiency.
- Admitting air into the pipeline during sudden shutdowns or rapid draining, preventing the formation of vacuum pressure that could cause pipe collapse or serious system damage.
For these reasons, air valves are considered a key safety element in any pipeline network.
| DN | L | H |
| 50 | 250 | 700 |
| 80 | 250 | 700 |
| 100 | 250 | 700 |
| 150 | 250 | 700 |
| 200 | 250 | 700 |








